New Patents Issued to Automated Dynamics | Advanced Composites

We are proud to announce that Automated Dynamics has been granted three new patents by the United States Patent and Trademark Office (USPTO). New designs were submitted for a lightweight composite truss and composite shear pins. Below are brief descriptions and links to the full documents.
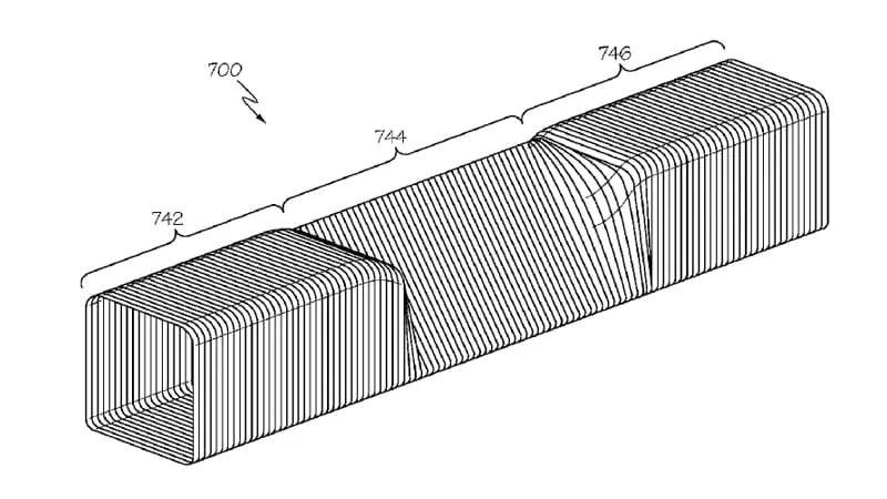
The first, Patent 9,404,249 B2, describes an optimized composite beam. This enables higher loads to be supported with an ultra-lightweight truss structure. Additional benefits include modulation of light and varying geometry to meet architectural goals. The patent teaches mass customization by placing composite fibers in the direction of the applied loads and/or increasing composite fiber density. This patent was the result of work performed by Automated Dynamics in conjunction with Michael Silver of the University of Buffalo School of Architecture and Planning.
Patent D762,757 S and Patent D762,758 S describe improved shear pin designs that take advantage of composite materials. Shear pins are used to transmit and/or limit forces and torques between mechanical components. These patents teach novel composite fiber architectures and composite fibers in combination with metals to provide improved force and torque transmission, greater corrosion resistance, and lighter weight.