Description du produit
Il existe deux modèles différents pour les ouvertures PG et mm. Ces deux modèles offrent une protection absolue contre la poussière et les jets d'eau puissants, ainsi que contre les effets de l'immersion entre 15 cm et 1 mètre. Ces deux modèles offrent une protection absolue contre la poussière et les jets d'eau puissants, ainsi que contre les effets de l'immersion entre 15 cm et 1 m. Les modèles VET et GET sont des modèles traditionnels à double joint, tandis que les modèles T-VET et T-GET sont de nouveaux modèles qui peuvent également être utilisés comme bouchons d'étanchéité.
Gamme de produits
Données sur le produit
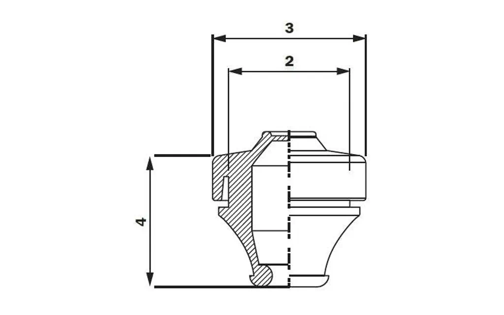
Données sur le produit T-VET
| Numéro de pièce | ouverture | Matériau | Couleur | Code RAL | Résistance à la flamme | Diamètre du câble | 2 | 3 | 4 | Épaisseur de la plaque |
|---|---|---|---|---|---|---|---|---|---|---|
|
100744 |
PG | TPE | Gris | 7042 | 3-5 | 13 | 20 | 17 | 1-4 mm | |
| 100746 | PG | TPE | Gris |
7035 | UL94V-0 |
3-5 | 13 | 20 | 17 | 1-4 mm |
| 100747 | PG | TPE | Noir |
UL94V-0 |
3-5 | 13 | 20 | 17 | 1-4 mm |
|
| 100186 | PG | TPE | Gris |
7042 | |
5-7 | 16 | 20 | 19 | 1-4 mm |
| 100749 | PG | TPE |
Gris |
7035 | UL94V-0 |
5-7 | 16 | 20 | 19 | 1-4 mm |
| 100187 | PG | TPE |
Noir |
UL94V-0 |
5-7 | 16 | 20 | 19 | 1-4 mm |
|
| 100465 | PG | TPE |
Gris |
7042 | |
7-10 | 19 | 24 | 21 | 1-4 mm |
| 100751 | PG | TPE |
Gris |
7035 | UL94V-0 |
7-10 | 19 | 24 | 21 | 1-4 mm |
| 100188 | PG | TPE |
Noir | UL94V-0 |
7-10 | 19 | 24 | 21 | 1-4 mm |
|
| 100189 | PG | TPE |
Gris |
7042 | |
10-14 | 23 | 29 | 23 | 1-4 mm |
| 100190 | PG | TPE |
Gris |
7035 | UL94V-0 |
10-14 | 23 | 29 | 23 | 1-4 mm |
| 100191 | PG | TPE |
Noir | UL94V-0 |
10-14 | 23 | 29 | 23 | 1-4 mm |
|
| 100753 | PG | TPE |
Gris |
7042 | |
14-20 | 29 | 34 | 26 | 1-4 mm |
| 100192 | PG | TPE |
Gris |
7035 | UL94V-0 |
14-20 | 29 | 34 | 26 | 1-4 mm |
| 100193 | PG | TPE |
Noir | UL94V-0 |
14-20 | 29 | 34 | 26 | 1-4 mm |
|
| 100194 | PG | TPE |
Gris |
7042 | |
20-26 | 38 | 46 | 30 | 1-4 mm |
| 100755 | PG | TPE |
Gris |
7035 | UL94V-0 |
20-26 | 38 | 46 | 30 | 1-4 mm |
| 100196 | PG | TPE |
Noir | UL94V-0 |
20-26 | 38 | 46 | 30 | 1-4 mm |
|
| 100196 | PG | TPE |
Gris |
7042 | |
26-35 | 48 | 57,5 | 33 | 1-4 mm |
| 100197 | PG | TPE |
Gris |
7035 | UL94V-0 |
26-35 | 48 | 57,5 | 33 | 1-4 mm |
| 100198 | PG | TPE | Noir | UL94V-0 |
26-35 | 48 | 57,5 | 33 | 1-4 mm |
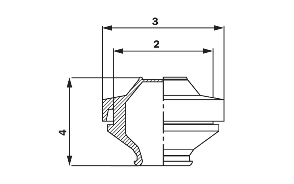
Données sur le produit
Données du produit T-GET
| Numéro de pièce | ouverture | Matériau | Couleur | Code RAL | Résistance à la flamme | Diamètre du câble | 2 | 3 | 4 | Épaisseur de la plaque |
|---|---|---|---|---|---|---|---|---|---|---|
|
100722 |
mm | TPE | Gris | 7042 | 3-5 | 12 | 19 | 20,9 | 1-5 mm | |
| 100723 | mm | TPE | Gris |
7035 | UL94V-0 |
3-5 | 12 | 19 | 20,9 | 1-5 mm |
| 100724 | mm | TPE | Noir |
UL94V-0 |
3-5 | 12 | 19 | 20,9 | 1-5 mm |
|
| 100725 | mm | TPE | Gris |
7042 | |
5-7 | 16 | 23 | 21,6 | 1-5 mm |
| 100726 | mm | TPE |
Gris |
7035 | UL94V-0 |
5-7 | 16 | 23 | 21,6 | 1-5 mm |
| 100727 | mm | TPE |
Noir |
UL94V-0 |
5-7 | 16 | 23 | 21,6 | 1-5 mm |
|
| 100728 | mm | TPE |
Gris |
7042 | |
7-10 | 20 | 27 | 24,3 | 1-5 mm |
| 100729 | mm | TPE |
Gris |
7035 | UL94V-0 |
7-10 | 20 | 27 | 24,3 | 1-5 mm |
| 100730 | mm | TPE |
Noir | UL94V-0 |
7-10 | 20 | 27 | 24,3 | 1-5 mm |
|
| 100731 | mm | TPE |
Gris |
7042 | |
10-14 | 25 | 32 | 24,8 | 1-5 mm |
| 100732 | mm | TPE |
Gris |
7035 | UL94V-0 |
10-14 | 25 | 32 | 24,8 | 1-5 mm |
| 100733 | mm | TPE |
Noir | UL94V-0 |
10-14 | 25 | 32 | 24,8 | 1-5 mm |
|
| 100734 | mm | TPE |
Gris |
7042 | |
14-20 | 32 | 39 | 28,1 | 1-5 mm |
| 100735 | mm | TPE |
Gris |
7035 | UL94V-0 |
14-20 | 32 | 39 | 28,1 | 1-5 mm |
| 100736 | mm | TPE |
Noir | UL94V-0 |
14-20 | 32 | 39 | 28,1 | 1-5 mm |
|
| 100737 | mm | TPE |
Gris |
7042 | |
20-26 | 40 | 46 | 31,8 | 1-5 mm |
| 100183 | mm | TPE |
Gris |
7035 | UL94V-0 |
20-26 | 40 | 46 | 31,8 | 1-5 mm |
| 100184 | mm | TPE |
Noir | UL94V-0 |
20-26 | 40 | 46 | 31,8 | 1-5 mm |
|
| 100738 | mm | TPE |
Gris |
7042 | |
26-35 | 50 | 57 | 39,7 | 1-5 mm |
| 100739 | mm | TPE |
Gris |
7035 | UL94V-0 |
26-35 | 50 | 57 | 39,7 | 1-5 mm |
| 100740 | mm | TPE | Noir | UL94V-0 |
26-35 | 50 | 57 | 39,7 | 1-5 mm |
|
| 103924 | mm | TPE | Gris | 7042 | 30-45 | 60 | 69 | 59,6 | 1-5 mm |
|
| 100741 | mm | TPE | Gris | 7035 | UL94V-0 |
30-45 | 60 | 69 | 59,6 | 1-5 mm |
| 100185 | mm | TPE | Noir | UL94V-0 |
30-45 | 60 | 69 | 59,6 | 1-5 mm |
|
| 103925 | mm | TPE | Gris | 7042 | 40-60 | 80 | 89 | 78,2 | 1,2-5,2 mm | |
| 100742 | mm | TPE | Gris | 7035 | UL94V-0 |
40-60 | 80 | 89 | 78,2 | 1,2-5,2 mm |
| 100743 | mm | TPE | Noir | UL94V-0 |
40-60 | 80 | 89 | 78,2 | 1,2-5,2 mm |
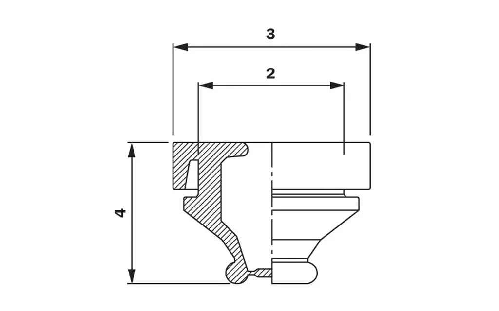
Données sur le produit
Données sur les produits d'EFP
| Numéro de pièce | ouverture | Matériau | Couleur | Code RAL | Fonctionnalité | Diamètre du câble | 2 | 3 | 4 | Épaisseur de la plaque |
|---|---|---|---|---|---|---|---|---|---|---|
|
100715 |
PG | EPDM | Noir | 3-5 | 13,2 | 20 | 12,8 | 1-4 mm | ||
| 100716 | PG | EPDM |
Gris |
7042 | 3-5 | 13,2 | 20 | 12,8 | 1-4 mm |
|
| 104010 | PG | EPDM |
Gris |
7035 | |
3-5 | 13,2 | 20 | 12,8 | 1-4 mm |
| 104011 | PG | CR | Noir |
Résistant à l'huile |
3-5 | 13,2 | 20 | 12,8 | 1-4 mm |
|
| 100306 | PG | EPDM |
Noir |
|
5-7 | 16 | 20 | 20 | 1-4 mm |
|
| 100307 | PG | EPDM |
Gris |
7042 | |
5-7 | 16 | 20 | 20 | 1-4 mm |
| 100308 | PG | EPDM |
Gris |
7035 | |
5-7 | 16 | 20 | 20 | 1-4 mm |
| 100712 | PG | CR | Noir |
Résistant à l'huile |
5-7 | 16 | 20 | 20 |
1-4 mm |
|
| 100291 | PG | EPDM |
Noir | |
8-14 | 23 | 28 | 23,5 | 1-4 mm |
|
| 100292 | PG | EPDM |
Gris |
7042 | |
8-14 | 23 | 28 | 23,5 | 1-4 mm |
| 100702 | PG | EPDM |
Gris |
7035 | |
8-14 | 23 | 28 | 23,5 | 1-4 mm |
| 100293 | PG | CR |
Noir | Résistant à l'huile |
8-14 | 23 | 28 | 23,5 | 1-4 mm |
|
| 100295 | PG | EPDM |
Noir | |
7-10 | 19 | 24 | 21 | 1-4 mm |
|
| 100296 | PG | EPDM |
Gris |
7042 | |
7-10 | 19 | 24 | 21 | 1-4 mm |
| 100703 | PG | EPDM |
Gris | 7035 | 7-10 | 19 | 24 | 21 | 1-4 mm |
|
| 100704 | PG | CR |
Noir |
Résistant à l'huile |
7-10 | 19 | 24 | 21 | 1-4 mm |
|
| 100297 | PG | EPDM |
Noir |
14-20 | 29 | 34 | 26 | 1-4 mm |
||
| 100298 | PG | EPDM |
Gris | 7042 | 14-20 | 29 | 34 | 26 | 1-4 mm |
|
| 100707 | PG | EPDM |
Gris |
7035 | |
14-20 | 29 | 34 | 26 | 1-4 mm |
| 100299 | PG | CR |
Noir |
Résistant à l'huile |
14-20 | 29 | 34 | 26 | 1-4 mm |
|
| 100300 | PG | EPDM |
Noir | |
20-26 | 38 | 46 | 30 | 1-4 mm |
|
| 100301 | PG | EPDM |
Gris | 7042 | 20-26 | 38 | 46 | 30 | 1-4 mm |
|
| 100709 | PG | EPDM |
Gris | 7035 | 20-26 | 38 | 46 | 30 | 1-4 mm |
|
| 100302 | PG | CR | Noir | Résistant à l'huile |
20-26 | 38 | 46 | 30 | 1-4 mm |
|
| 100304 | PG | EPDM |
Noir | 26-35 | 48 | 57,5 | 30 | 1-4 mm |
||
| 100305 | PG | EPDM |
Gris | 7042 | 26-35 | 48 | 57,5 | 30 | 1-4 mm |
|
| 100710 | PG | EPDM |
Gris | 7035 | 26-35 | 48 | 57,5 | 30 | 1-4 mm |
|
| 100711 | PG | CR | Noir | Résistant à l'huile |
26-35 | 48 | 57,5 | 30 | 1-4 mm |
Données sur le produit
Obtenir des données sur les produits
| Numéro de pièce | ouverture | Matériau | Couleur | Code RAL | Diamètre du câble | 2 | 3 | 4 | Épaisseur de la plaque |
|---|---|---|---|---|---|---|---|---|---|
|
100589 |
mm | EPDM | Noir | 3-5 | 12,2 | 19 | 18,5 | 1,3-5 mm | |
| 100590 | mm | EPDM | Gris |
7042 |
3-5 | 12,2 | 19 | 18,5 | 1,3-5 mm |
| 104018 | mm | SILICONE Q | Rouge |
3-5 | 12,2 | 19 | 18,5 | 1,3-5 mm |
|
| 100587 | mm | EPDM | Noir | 5-7 | 16,2 | 23 | 18,5 | 1,3-5 mm |
|
| 100231 | mm | EPDM | Gris |
7042 |
5-7 | 16,2 | 23 | 18,5 | 1,3-5 mm |
| 104016 | mm | SILICONE Q | Rouge |
5-7 | 16,2 | 23 | 18,5 | 1,3-5 mm |
|
| 100578 | mm | EPDM |
Noir |
7-10 | 20,2 | 27 | 19,5 | 1,3-5 mm |
|
| 100226 | mm | EPDM | Gris |
7042 |
7-10 | 20,2 | 27 | 19,5 | 1,3-5 mm |
| 100581 | mm | SILICONE Q |
Rouge | 7-10 | 20,2 | 27 | 19,5 | 1,3-5 mm |
|
| 100574 | mm | EPDM | Noir |
10-14 | 25,2 | 32 | 19,5 | 1,3-5 mm |
|
| 100167 | mm | EPDM | Gris |
7042 |
10-14 | 25,2 | 32 | 19,5 | 1,3-5 mm |
| 100576 | mm | SILICONE Q | Rouge | 10-14 | 25,2 | 32 | 19,5 | 1,3-5 mm |
|
| 100227 | mm | EPDM | Noir | 14-20 | 32,2 | 39 | 21,5 | 1,3-5 mm |
|
| 100228 | mm | EPDM | Gris |
7042 |
14-20 | 32,2 | 39 | 21,5 | 1,3-5 mm |
| 102263 | mm | SILICONE Q | Rouge | 14-20 | 32,2 | 39 | 21,5 | 1,3-5 mm |
|
| 100583 | mm | EPDM | Noir |
20-26 | 40,2 | 47 | 24 | 1,3-5 mm |
|
| 100584 | mm | EPDM | Gris |
7042 |
20-26 | 40,2 | 47 | 24 | 1,3-5 mm |
| 100585 | mm | SILICONE Q | Rouge | 20-26 | 40,2 | 47 | 24 | 1,3-5 mm |
|
| 100229 | mm | EPDM | Noir | 26-35 | 50,2 | 58 | 30 | 1,3-5 mm |
|
| 100230 | mm | EPDM | Gris |
7042 |
26-35 | 50,2 | 58 | 30 | 1,3-5 mm |
| 104014 | mm | SILICONE Q | Rouge | 26-35 | 50,2 | 58 | 30 | 1,3-5 mm |
|
| 100223 | mm | EPDM | Noir | 30-45 | 60,2 | 69 | 45 | 1,3-5 mm |
|
| 100224 | mm | EPDM | Gris | 7042 |
30-45 | 60,2 | 69 | 45 | 1,3-5 mm |
| 102258 | mm | SILICONE Q | Rouge | 30-45 | 60,2 | 69 | 45 | 1,3-5 mm |
|
| 100573 | mm | EPDM | Noir | 40-60 | 80,2 | 90 | 60 | 1,3-5 mm |
|
| 100225 | mm | EPDM | Gris | 7042 |
40-60 | 80,2 | 90 | 60 | 1,3-5 mm |
| 104013 | mm | SILICONE Q | Rouge | 40-60 | 80,2 | 90 | 60 | 1,3-5 mm |

La sélection des produits d'entrée de câbles facilitée
Vous pouvez créer votre propre système en fonction de vos besoins en termes de nombre de câbles et de diamètres, remplacer les œillets ultérieurement si nécessaire et utiliser des câbles pré-assemblés avec des connecteurs.














