Product Description
The RAEM is a universal mounting for applications demanding maximum vibration isolation. It is a further development of the RA mount, where EM stands for 'extra soft' and is suitable for both light and heavy machines. Its unique construction and the latest production methods make the RAEM mounting a high performance mount, with a number of advantages such as, corrosion protection to cope with arduous environments and a domed shaped cover to protect against oil contamination.
| REFERENCE | DRAWING NO. | PART NO. | HARDNESS (IRHD) |
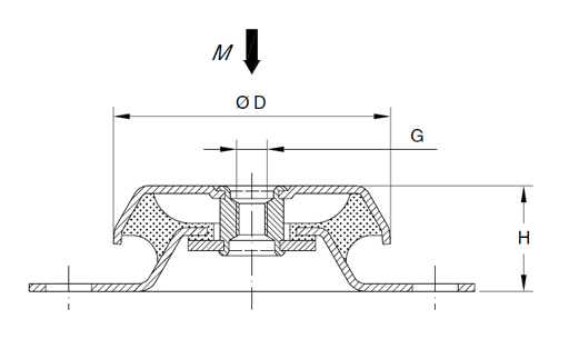
DIMENSIONS (mm) | MAX. LOAD (N) |
MAX. BOLT TORQUE (Nm) |
||||||
| ØD | A | H | K | Ød | L | ØG | ||||||
| RAEM 40 | 17-4023-1 | 10-00122 | 40 | 64 | 88 | 35.5 | 110 | 9 | 12 | M10 | 300 | 15 |
| RAEM 40 | 17-4024-1 | 10-00123 | 60 | 64 | 88 | 35.5 | 110 | 9 | 12 | M10 | 600 | 15 |
| RAEM 60 | 17-4025-1 | 10-00183 | 40 | 63 | 100 | 35.5 | 120 | 11 | 15 | M12 | 600 | 25 |
| RAEM 60 | 17-4026-2 | 10-00184 | 60 | 63 | 100 | 35.5 | 120 | 11 | 15 | M12 | 1200 | 25 |
| RAEM 125 | 17-2336-1 | 10-00108 | 40 | 84 | 110 | 35.5 | 135 | 11 | 15 | M10 | 800 | 15 |
| RAEM 125 | 17-2338-1 | 10-00109 | 60 | 84 | 110 | 35.5 | 135 | 11 | 15 | M10 | 1800 | 15 |
| RAEM 125 | 17-2336-2 | 10-00168 | 40 | 84 | 110 | 35.5 | 135 | 11 | 15 | M12 | 800 | 25 |
| RAEM 125 | 17-2338-2 | 10-00169 | 60 | 84 | 110 | 35.5 | 135 | 11 | 15 | M12 | 1800 | 25 |
| RAEM 350 | 17-2341-1 | 10-00174 | 40 | 110 | 140-148 | 42 | 175 | 14 | 18 | M12 | 2000 | 25 |
| RAEM 350 | 17-2342-1 | 10-00175 | 60 | 110 | 140-148 | 42 | 175 | 14 | 18 | M12 | 4000 | 25 |
| RAEM 350 | 17-2341-2 | 10-00114 | 40 | 110 | 140-148 | 42 | 175 | 14 | 18 | M16 | 2000 | 50 |
| RAEM 350 | 17-2342-2 | 10-00115 | 60 | 110 | 140-148 | 42 | 175 | 14 | 18 | M16 | 4000 | 50 |
| RAEM 800 | 17-2347-2 | 10-00120 | 40 | 155 | 182 | 54 | 216 | 14 | 18 | M16 | 4500 | 50 |
| RAEM 800 | 17-2348-1 | 10-00121 | 60 | 155 | 182 | 54 | 216 | 14 | 18 | M16 | 8000 | 50 |
| RAEM 1500 | 17-4020-1 | 10-00158 | 40 | 182 | 146 | 85 | 180 | 14 | - | M20 | 9000 | 100 |
| RAEM 1500 | 17-4018-1 | 10-00159 | 60 | 182 | 146 | 85 | 180 | 14 | - | M20 | 17000 | 100 |
| RAEM 2500 | 17-4021-2 | 10-00160 | 40 | 224 | 180 | 105.5 | 220 | 17.5 | - | M24 | 17000 | 200 |
| RAEM 2500 | 17-4022-1 | 10-00161 | 60 | 224 | 180 | 105.5 | 220 | 17.5 | - | M24 | 34000 | 200 |

Download the Datasheet
Find out more about Trelleborg's RAEM solutions.


