Product Description
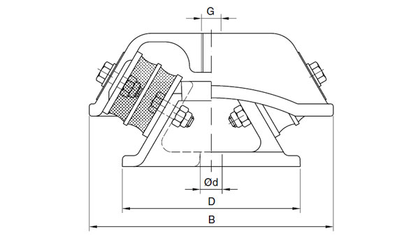
Designed and developed by Trelleborg AVS, the Cushyfoot mounting features two rubber elements used in shear and compression, to provide superior stiffness characteristics for the isolation of a wide array of vibration frequencies.
Cushyfoot mountings have two rubber elements, used in shear and compression, to provide excellent stiffness characteristics for the isolation of a wide range of vibration frequencies.
There are three sizes, 17-0290 for loads up to 230 kg per mounting, 17-0213 for loads up to 1250 kg and 17-0346, which will carry up to 1280 kg per mounting, will provide up to 16 mm static deflection.
Features:
• A wide load range from 50 to 1280 kg
• Strong casting for safety and reliability
• Dissimilar horizontal stiffness gives optimum isolation and motion control
Applications:
• Diesel engines
• Generator sets
• Compressors
• Fans
• Hydraulic units
• Lift machinery
| REFERENCE | DRAWING NO. | PART NO. | HARDNESS (IRHD) | DIMENSIONS (mm) |
STATIC STIFFNESS
(N/mm) |
MAX. LOAD (kN) | |||||||
| L | B | A | K | H | D | Ød | G | ||||||
| A3 | 050 18 001 | 96808 | 50 | 121 | 127 | 90 | 115 | 72 | 83 | 11 | M12 | 240 | 1.50 |
| 49047069 | M16 | ||||||||||||
| A2 | 96806 | 50 | M12 | 310 | 1.90 | ||||||||
| 49041129 | M16 | ||||||||||||
| A1 | 96809 | 65 | M12 | 520 | 3.10 | ||||||||
| 49047070 | M16 | ||||||||||||
| A0 | 96807 | 75 | M12 | 900 | 5.30 | ||||||||
| 49047071 | M16 | ||||||||||||
| A3 | 17-0290-1 | 20-00689 | 45 | 122 | 132 | 90 | 114 | 72 | 82 | 13 | M16 | 160 | 1.20 |
| A1 | 10-04251 | 60 | 300 | 2.30 | |||||||||
| A0 | 10-04116 | 70 | 545 | 3.50 | |||||||||
| HD3 | 050 18 004 | 596744 | 50 | 228 | 203 | 165 | 203 | 120 | 146 | 17.5 | M16 | 450 | 5.00 |
| HD2 | 96800 | 60 | 770 | 8.50 | |||||||||
| HD1 | 96920 | 65 | 860 | 9.50 | |||||||||
| HD0 | 96801 | 75 | 1140 | 12.50 | |||||||||
| B3 | 050 18 002 | 96802 | 50 | 228 | 203 | 165 | 203 | 110 | 146 | 17.5 | M16 | 1080 | 6.50 |
| B2 | 96805 | 60 | 1580 | 9.50 | |||||||||
| B1 | 96804 | 65 | 2080 | 12.50 | |||||||||
| B0 | 96803 | 75 | 2670 | 16.00 | |||||||||
| B3 | 17-0213-1 | 10-04106 | 45 | 230 | 204 | 165 | 205 | 110 | 148 | 18 | M16 | 720 | 5.90 |
| B1 | 10-04104 | 60 | 1460 | 12.50 | |||||||||
| HD3 | 17-0346-1 | 10-04123 | 45 | 230 | 204 | 165 | 205 | 123 | 148 | 18 | M16 | 390 | 6.30 |
| HD1 | 10-04120 | 60 | 785 | 12.80 | |||||||||

Download the datasheet
Find out more about Trelleborg's Cushyfoot solutions.


