Product Description
Similar in design to the RA/RAEM range, type RAB uses rubber in shear and compression for optimum stiffness characteristics and horizontal stability. Especially effective on small 1, 2 and 3 cylinder diesel engines where the special compound employed provides effective isolation of vibration while eliminating much of the excessive movement normally associated with 1-3 cylinder engines.
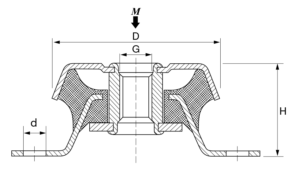
| REFERENCE | DRAWING NO. | PART NO. | DIMENSIONS (mm) | MAX. LOAD (N) | MAX. BOLT TORQUE (Nm) | ||||||
| ØD | A | H | K | Ød | G | ||||||
| RAB 3 | 17-4004-1 | 10-00180 | 63 | 76 | 35 | 93.5 | 8.5 | M12 | 700 | 25 | |
| RAB 2 | 17-4141-1 | 10-00179 | 63 | 76 | 35 | 93.5 | 8.5 | M12 | 1050 | 25 | |
| RAB 0 | 17-4092-1 | 10-00178 | 63 | 76 | 35 | 93.5 | 8.5 | M12 | 1300 | 25 | |

Download the Datasheet
Find out more about Trelleborg's RAB Mount solutions.


