Produktbeschreibung
Ähnlich wie bei der RA/RAEM-Reihe wird beim Typ RAB Gummi in Scher- und Kompressionsstellung verwendet, um optimale Steifigkeitseigenschaften und horizontale Stabilität zu erreichen. Besonders effektiv bei kleinen 1-, 2- und 3-Zylinder-Dieselmotoren, bei denen die spezielle Mischung für eine wirksame Isolierung von Vibrationen sorgt und gleichzeitig einen Großteil der übermäßigen Bewegungen eliminiert, die normalerweise bei Motoren mit 1 bis 3 Zylindern auftreten.
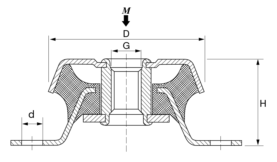
| REFERENZ | ZEICHNUNG NR. | ARTIKELNR. | ABMESSUNGEN (mm) | MAX. BELASTUNG (N) | MAX. SCHRAUBENDREHMOMENT (Nm) | ||||||
| ØD | A | H | K | Ød | G | ||||||
| RAB 3 | 17-4004-1 | 10-00180 | 63 | 76 | 35 | 93,5 | 8,5 | M12 | 700 | 25 | |
| RAB 2 | 17-4141-1 | 10-00179 | 63 | 76 | 35 | 93,5 | 8,5 | M12 | 1050 | 25 | |
| RAB 0 | 17-4092-1 | 10-00178 | 63 | 76 | 35 | 93,5 | 8,5 | M12 | 1300 | 25 | |

Download the Datasheet
Erfahren Sie mehr über die RAB Mount Lösungen von Trelleborg.


