Produktbeschreibung
Die Trelleborg Tilt Cab Mount (TCM) wurde speziell für ein hohes Maß an Schwingungsisolierung entwickelt, während gleichzeitig axiale Bewegungen durch einen integrierten Puffer kontrolliert werden. Die Kombination aus Isolator und Puffer führt dazu, dass die Lagerung mit erhöhter Effektivität im Vergleich zu einem herkömmlichen Multi-Mount-System funktioniert.
Die robuste und ausfallsichere Konstruktion ermöglicht die Eignung für ROPS- und FOPS-Kabinenstrukturen. Die Halterung bietet einen Lastbereich von 180 bis 380 kg mit einer ansteigenden Steifigkeitscharakteristik, um Bewegungen und übertragene Beschleunigungen zu begrenzen. Die einfache Presspassung und die sich verjüngende Kappe ermöglichen es der Kabine/dem Hubgerüst, über die Halterung zu gleiten, ohne sich zu verhaken. Das TCM verfügt außerdem über einen eingebauten Vertikalbewegungsbegrenzer, um übermäßige Kabinenverschiebungen während eines Stoßes zu verhindern, eine Funktion, die auch die Buchse vor Überlastung schützt und somit eine lange Lebensdauer gewährleistet.
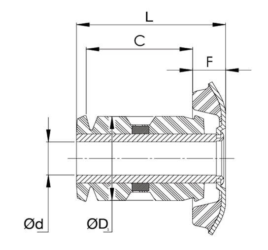
| ZEICHNUNG NR. | ARTIKELNR. | HÄRTE (IRHD). | ABMESSUNGEN (mm) | MAX. BELASTUNG (kN) | STEIFIGKEIT (N/mm) | ||||||
| Ød | ØD | F | L | Gehäuse | AXIAL | RADIAL | |||||
| ØD1 | C | ||||||||||
| 13-4455-1 | 10-04845 | 50 | 16,2 | 75 | 16,2 | 70 | 39,1±0,2 | 50,5±0,5 | 2 | 1775 | 1435 |
| 10-02038 | 60 | 4 | 3465 | 2275 | |||||||
| 10-04846 | 70 | 6 | 5100 | 3335 | |||||||

Off-Highway Vehicles
Lesen Sie mehr über unsere Antivibrationslösungen für Off-Highway-Fahrzeuge und Anwendungen


